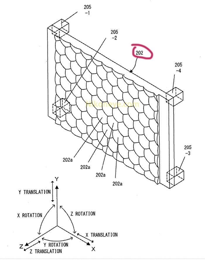
Il brevetto che descrive un sistema completamente nuovo. Invece di stabilizzare l’intero sensore, Nikon prevede di stabilizzare solo le microlenti sopra al sensore.
Il vantaggio di questa soluzione sarebbe evidentemente che non è più necessario spostare l’intero sensore con un guadagno in termini di velocità ed efficienza (il sensore rimarrebbe sempre fisso e allineato).
Saremo a vedere se il brevetto troverà applicazione

